EMS国际快递是中国邮政速递物流推出的官方手机应用,专为Android用户打造的个人快件管理工具。这款软件整合了寄件查询、在线下单、订单跟踪等核心功能,让用户能够随时随地通过手机完成国际快递的全流程操作。依托中国邮政强大的运输网络和覆盖全国的处理中心,该平台提供稳定高效的跨境寄递服务,支持多种特色快递产品和个性化服务方案。无论是文件速递还是商品寄送,都能找到合适的物流解决方案,现在体验还能享受便捷的清关服务,感兴趣的朋友快来下载使用吧。
邮政邮件禁止寄递的物品有哪些
为确保运输安全,邮政对寄递物品有严格规定。易燃易爆类物品如烟花爆竹、压缩气体容器禁止邮寄;毒性物质包括剧毒农药、汞化物等均不可寄送;各类枪支弹药及仿制品、管制刀具等武器类物品严禁寄递;涉及国家安全的间谍器材、非法出版物也在禁运之列;象牙等濒危野生动物制品、侵权假冒商品同样禁止邮寄。具体可参照《危险化学品目录》等法规文件,寄件前请仔细核对物品类别。
国际业务
国际特快专递是邮政与各国合作提供的直发服务,可快速寄送文件物品并实时追踪;中速快件作为商业快递覆盖220多个国家,支持50公斤以上大件运输;专为跨境电商设计的e特快服务,通过优化流程提升发货效率;中邮海外购专注进口物流,提供电子报关和关税缴纳服务;商业渠道进口业务则为跨境购物提供稳定合法的清关配送方案。
惠农合作项目
易邮箱服务采用标准化箱型计费,适合农产品寄递,全国陆运配送性价比高;极速鲜项目为合作社提供冷链专线,通过航空优先保障生鲜运输时效,配套快速理赔机制确保农户权益。这两种特色服务帮助新型农业主体打通产销链路。
ems国际快递怎么寄?
打开APP首页选择港澳台/国际板块,准确填写收发件地址;根据需求选择特快专递或经济快递等服务类型;必须完整填写海关申报信息,包括物品品名、数量和价值;确认资料无误后提交订单,系统将自动生成运单号码。
海关申报信息怎么填?
申报时需使用有效手机号注册唯一账户;物品价值限制为港澳台800元、其他国家1000元人民币;必须上传横向拍摄的身份证正反面清晰照片,证件有效期需大于3个月;私人物品需注明"个人自用",商业邮件需提供合同发票等报关文件。
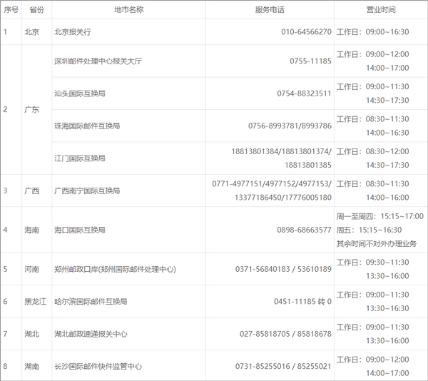
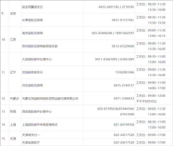
各地海关要求可能不同,北京需提供装箱清单和形式发票;上海重点核查电子产品报关单;广州对生鲜类要求检疫证明;深圳查验高价值物品的购买凭证。
更新日志
最新5.0.2版本优化了邮件状态查询响应速度;修复部分机型下单页面显示异常问题;增强国际邮件的轨迹更新及时性。


实用手机记账软件盘点
学霸君软件版本大全
熊猫看书软件版本大全









叨叨记账本 安卓直装版
v4.3.5.1 手机版/
企查查 最新免费版
v19.5.0 手机版/
Tripadvisor猫途鹰 手机版
v43.0.0 安卓版/
小步运动本 官方版
v1.0.5 手机版/
省钱帮 通用版
v2.0.0 安卓版/
唱享K歌电视版
V1.0.20/
guitartuner吉他调音器 最新免费版
v3.8.6 最新版/
lefun health (乐动健康生活) 安卓直装版
v2.9.6 最新版/
京驿货车 最新免费版
v11.8.3 安卓版/
易订货 安卓免费版
v5.4.43 安卓版/